Bạn có thể chuyển sang phiên bản mobile rút gọn của Tri thức trực tuyến nếu mạng chậm. Đóng

Hãng xe Chery của Trung Quốc đăng ký bản quyền sản phẩm tại Việt Nam

Chery OMODA 5 là mẫu xe mới nhất được hãng xe Trung Quốc đăng ký bản quyền tại Việt Nam.

Công báo sở hữu công nghiệp tháng 2 ghi nhận thông tin hãng xe Chery đăng ký bản quyền của một mẫu xe với thiết kế SUV.

Chia sẻ với Zing, ông Li Yun Jian (quản lý thương hiệu Chery tại Việt Nam) cho biết mẫu xe được đăng ký là OMODA 5.

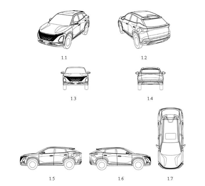
Hang xe Chery dang ky ban quyen san pham anh 1

Mẫu xe mới nhất được Chery đăng ký bản quyền tại Việt Nam.

Chery giới thiệu OMODA 5 lần đầu tiên tại Triển lãm ôtô Quảng Châu 2021, đây là mẫu xe đầu tiên của hãng xe Trung Quốc được thiết kế theo triết lý Art in Motion. OMODA 5 có khả năng tương thích động cơ đốt trong lẫn động cơ điện.

Giống hầu hết mẫu xe Trung Quốc khác trên thị trường, thiết kế của Chery OMODA 5 trông khá hiện đại và thời trang. Đầu xe nổi bật với lưới tản nhiệt dạng kim cương không viền nối liền với phần cản trước. Mui xe được vuốt ngược ra phía sau giúp tăng khả năng khí động học cũng như cho cảm giác gọn gàng.

Hang xe Chery dang ky ban quyen san pham anh 2

Bên trong khoang lái, OMODA 5 gây chú ý với cụm màn hình trải dài từ người lái đến giữa xe, mỗi màn hình kích thước 10,25 inch. Xe có vô lăng thể thao 3 chấu, cần số điện tử, phanh tay điện tử.

Chery không đưa ra các thông tin chi tiết về OMODA 5. Theo kế hoạch, mẫu SUV này sẽ được bán ra thị trường trong năm nay tại các quốc gia ở châu Á, Bắc Mỹ, Australia, châu Phi và châu Âu.

Hang xe Chery dang ky ban quyen san pham anh 3

Đại diện của Chery cũng chia sẻ thông tin có thể cân nhắc mang về Việt Nam các mẫu xe điện như eQ1, QQ Ice Cream... Trước đây, Chery từng đăng ký bản quyền 2 mẫu xe khác là Tiggo 3X Plus và Arrizo 6.

Chery là hãng ôtô Trung Quốc thành lập năm 1997, đây là một trong những thương hiệu ôtô khá có tiếng tại quê nhà.

Tại Việt Nam, Chery vẫn chưa công bố thời gian chính thức gia nhập thị trường, ông Li Yun Jian cho biết hãng đang cố gắng để sớm ra mắt người dùng Việt Nam.

Jeep công bố hình ảnh mẫu xe điện đầu tiên

Mẫu xe mới này nằm trong dải sản phẩm hơn 75 mẫu xe điện sẽ được Tập đoàn Stellantis giới thiệu.

VinFast công bố hình ảnh nội thất của VF 8 và VF 9

Hai mẫu xe điện VinFast VF 8 và VF 9 sẽ được ra mắt thị trường toàn cầu vào giữa năm nay.

Những mẫu xe điện ở thế kỷ 20 bị lãng quên

Trước khi ôtô điện dần trở nên phổ biến trong thế kỷ 21, BMW, Ford, Chevrolet GM hay Nissan từng nhiều lần thử sức phát triển xe chạy pin cách đây hàng thập kỷ.

Vĩnh Phúc

Bạn có thể quan tâm