Bạn có thể chuyển sang phiên bản mobile rút gọn của Tri thức trực tuyến nếu mạng chậm. Đóng

Phát minh mới giúp vô-lăng trên ôtô có thể thay đổi vị trí

Volvo vừa đăng ký bằng phát minh cho cụm vô-lăng có khả năng di chuyển tùy ý để thay đổi vị trí lái.

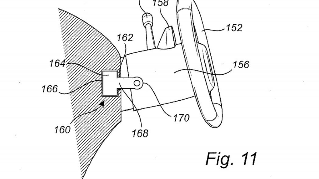
Dựa trên công nghệ điều khiển bằng dây dẫn (by-wire), Volvo đang phát triển một hệ thống tay lái ôtô có khả năng thay đổi vị trí tùy ý trên bảng tablo. Bằng phát minh cho hệ thống này được hãng xe Thụy Điển đăng ký vào tháng 9.

Theo đó, cả vô-lăng, bảng đồng hồ tốc độ có thể trượt ngang từ trái sang phải trên một đường rãnh. Thậm chí, người lái có thể chọn vị trí ngồi giữa cabin để điều khiển xe.

tay lai co the thay doi vi tri anh 1

Sáng chế mới của Volvo trước mắt tạo ra cabin đa năng có nhiều vị trí lái, phù hợp với cả điều kiện lái xe bên trái hoặc bên phải ở các quốc gia, vùng lãnh thổ khác nhau.

Tiếp đến, Volvo cho biết người lái có thể trượt vô-lăng sang phía đối diện để có nhiều không gian nghỉ ngơi hơn khi xe vận hành ở chế độ lái bán tự động. Hệ thống tay lái trượt được cho là đơn giản và ít tốn kém hơn so với kiểu vô-lăng có thể ẩn vào bảng tablo từng được giới thiệu trên một vài mẫu xe ý tưởng trước đây.

Để tương thích với kiểu vô-lăng mới, Volvo sẽ phát triển cụm bàn đạp phanh và ga làm từ các miếng đệm áp suất đặt ở cả 2 bên của hàng ghế trước. Tùy theo vị trí vô-lăng mà cụm chân phanh, chân ga tương ứng sẽ được kích hoạt, bên còn lại sẽ bị vô hiệu hóa.

tay lai co the thay doi vi tri anh 2

Bên cạnh đó, hãng xe Thụy Điển sẽ cần loại bỏ toàn bộ các bộ phận điều khiển vật lý của hệ thống lái và thay thế hoàn toàn bằng dây điều khiển (steer-by-wire). Công nghệ này đã được Infiniti ứng dụng trong vài năm qua. Điều này cho thấy tính khả thi của phát minh được Volvo đăng ký.

Tuy nhiên, để một hệ thống mới mẻ trên giấy tờ được hiện thực hóa cần nhiều thời gian phát triển và thử nghiệm. Đồng thời, hệ thống tay lái mới còn phải được các cơ quan quản lý giao thông chấp thuận trước khi đưa vào sử dụng thực tế.

Vẫn chưa rõ thời gian mà hãng xe sang Thụy Điển dự định đưa phát minh mới vào sản xuất thương mại.

Jaguar XF 2021 được ra mắt với nhiều nâng cấp đáng giá

Jaguar vừa trình làng XF 2021 với nhiều nâng cấp về thiết kế, trang bị tiện nghi và bổ sung cấu hình động cơ mới.

Volvo phát triển crossover chạy điện cỡ nhỏ

Hãng xe Thụy Điển lên kế hoạch trình làng một chiếc xe điện mới dựa trên nền tảng SEA của tập đoàn Geely.

Hoàng Phạm

Ảnh: Autoblog

Bạn có thể quan tâm