![]() |
| Những dự án điên rồ tại Google có lẽ chưa đủ làm thỏa mãn vị đồng sáng lập Larry Page. Ảnh: Gadget. |
Larry Page, một trong 2 người đồng sáng lập Google (hiện là CEO của công ty mẹ Alphabet) đã bí mật chi hơn 100 triệu USD để phát triển xe bay. Thông tin vừa được tiết lộ bởi Bloomberg, sau những cuộc trò chuyện kéo dài với nhiều nguồn tin khác nhau.
Page được cho sở hữu một công ty khởi nghiệp bí mật có tên Zee.Aero, ra đời năm 2010. Vị tỉ phú này đã chi hơn 100 triệu USD tiền túi cho công ty này. Trụ sở của nó đặt tại Mountain View, California (gần trụ sở Google). Hiện tại, công ty thuê khoảng 150 nhân sự.
Tuy nhiên, đó chưa phải tất cả. Page cũng đang cấp vốn cho một công ty sản xuất xe bay khác có tên Kitty Hawk. Công ty này hoạt động độc lập so với Zee.Aero nhưng có chung mục tiêu. Hiện chưa rõ Page đầu tư bao nhiêu tiền vào Kitty Hawk.
Theo nguồn tin từ Bloomberg, Zee.Aero đã cho ra đời 2 chiếc xe bay bản mẫu và bước vào giai đoạn “thử nghiệm thông thường”. Mẫu phương tiện này sử dụng động cơ điện.
![]() |
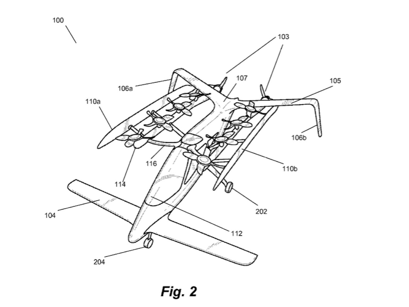
| Bản vẽ mẫu xe bay của Zee.Aero. |
Bản vẽ trên xuất hiện trong đơn xin cấp bằng sáng chế của công ty vào năm 2011. Hiện tại, thiết kế của nó đã đơn giản và dễ nhìn hơn.
Mục tiêu dài hạn của những chiếc xe bay là tạo ra một mẫu máy bay cơ động, có khả năng hoạt động như một ôtô thông dụng. Bản thiết kế của Zee.Aero cho thấy đây không phải thiết bị lên thẳng - vốn hữu dụng trong không gian hạn hẹp.
Thông tin trên website của Zee.Aero không tiết lộ nhiều điều: “Nằm ở trung tâm của thung lũng Silicon, Zee.Aero đang phát triển một phương thức di chuyển hoàn toàn mới”. Công ty này cũng đang mở rộng tuyển dụng nhân lực.



