Được phát hiện bởi AppleInsider, bằng sáng chế mới của Táo khuyết mô tả loại vật liệu màn hình có thể được sử dụng trên nhiều thiết bị di động khác nhau, từ smartwatch, laptop đến smartphone màn hình gập.
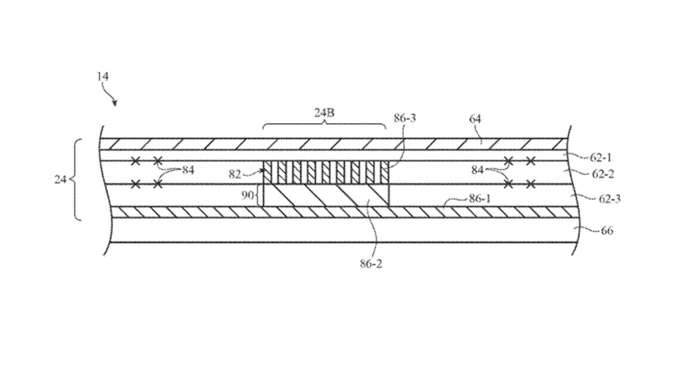
Với tên gọi “Thiết bị điện tử được phủ lớp màn hình uốn dẻo” (Electronic devices with flexible display cover layers), bằng sáng chế nêu ý tưởng về việc ốp 2 tấm kính cố định lên một lớp phủ dẻo có khả năng đàn hồi, cho phép giảm sự xuất hiện của các vết xước và lõm trên bề mặt màn hình.
|
| iPhone Flip có thể trang bị màn hình tự chữa vết trầy của Apple. Ảnh: Tom's Guide. |
Vì không thể sử dụng kính cường lực như smartphone truyền thống, phần màn hình của smartphone gập dễ trầy xước và hư hỏng hơn trong điều kiện sử dụng bình thường. Ngay cả khi không ảnh hưởng đến khả năng hoạt động của màn hình, nó vẫn khiến điện thoại gập trở nên kém bền bỉ trong mắt người dùng.
Bằng sáng chế còn đề xuất giải pháp sử dụng ánh sáng, nhiệt hoặc các kính thích hóa học thay cho lớp phủ tự chữa vết trầy. Nếu sử dụng nhiệt, điện thoại có thể được phủ một bộ phận làm nóng, được kích hoạt bởi người dùng hoặc khi cắm sạc.
![]() ![]() |
Bằng sáng chế của Apple mô tả vật liệu màn hình tự chữa vết trầy xước. Ảnh: USPTO. |
Không có chi tiết để cập đến cơ chế gập của iPhone, song Apple có nhắc đến phần màn hình hiển thị bên ngoài điện thoại. Trước đây, các smartphone gập như Huawei Mate X, Mate Xs hay Royole FlexPai cũng làm theo hướng gập ra ngoài, đồng nghĩa với việc màn hình thiết bị có nguy cơ hỏng hóc cao hơn.
Bằng sáng chế của Apple chỉ giữ vai trò bảo lưu quyền sở hữu thiết kế, không thể chắc chắn về việc chúng được sử dụng thương mại. Tuy nhiên, người dùng hoàn toàn có thể mong đợi một chiếc iPhone gập ra mắt trong tương lai.

