Dường như, Apple đang bị chi phối bởi cảm xúc Nostalgia. Đó là tình trạng liên quan đến sự khao khát những gì thuộc về quá khứ và thường lý tưởng hoá những điều đó. Điều này có thể dễ dàng nhận thấy qua bằng sáng chế mới được đăng ký của Apple.
![]() |
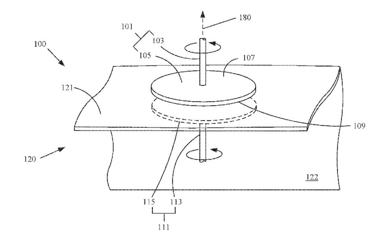
| Cơ chế hoạt động của bằng sáng chế mới giống với đồng hồ dây cót. Ảnh: Phonearena. |
“Bộ sạc từ tính” là tên gọi của bằng sáng chế. Nghe có vẻ khác biệt, tuy nhiên, thực chất nó là ý tưởng khá cũ, gần giống như những gì đã có từ thời xa xưa.
Theo đó, nó có cơ chế tương tự như đồng hồ dây cót. Apple có thể áp dụng điều này bằng cách thêm máy phát điện quay tròn bên trong nút Digital Crown trên smartwatch của họ. Hiện tại, đây là nút ấn duy nhất trên Apple Watch.
Thực tế, bằng sáng chế này là chuỗi nối tiếp và chi tiết hơn của hồ sơ đã nộp năm 2014. Bằng nhiều cách, Apple đang cho thấy họ đang cố gắng cải tiến đồng hồ thông minh của mình để cạnh tranh với các đối thủ.
![]() |
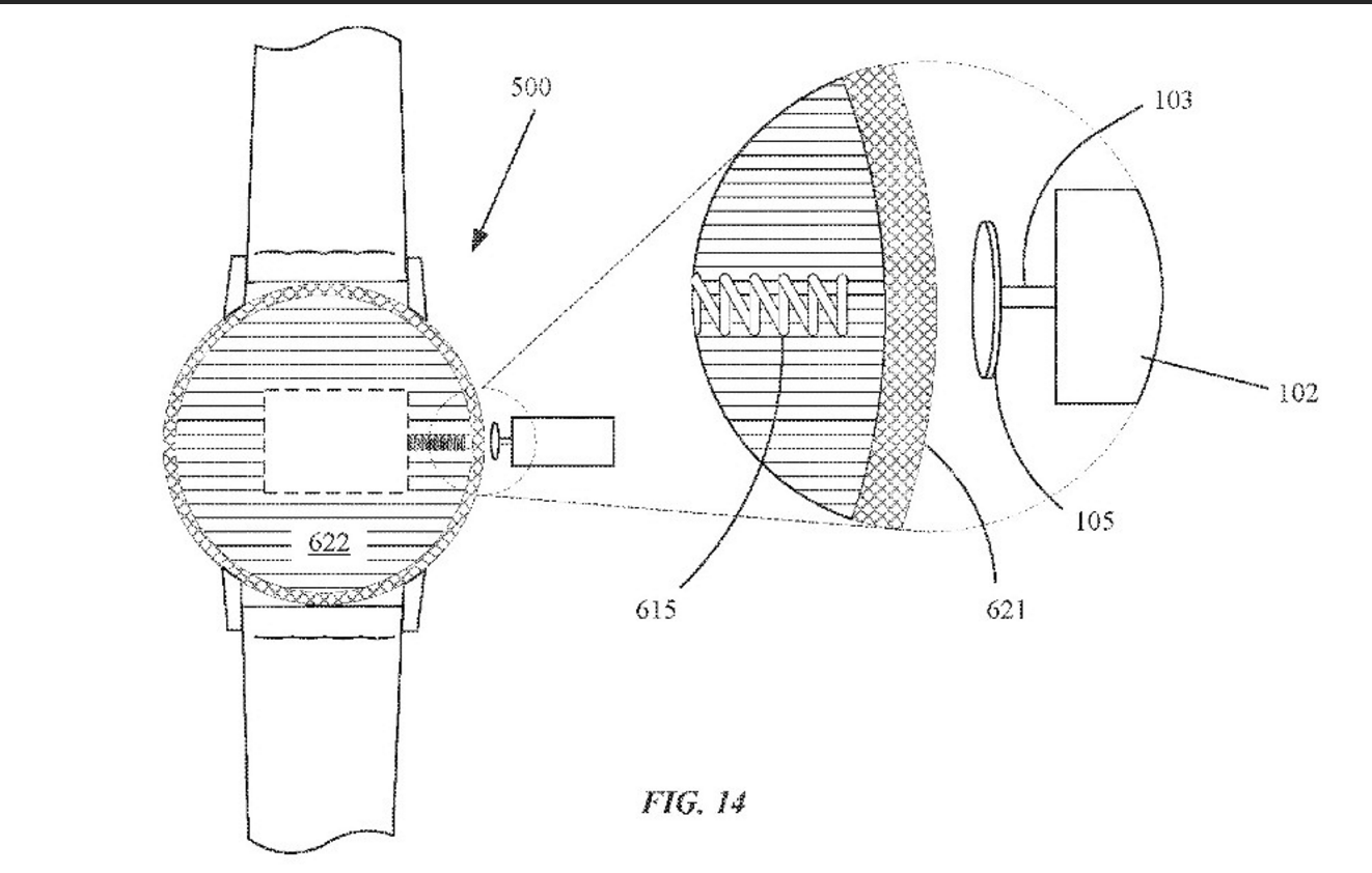
| Vị trí đặt máy phát điện trùng với nút Digital Crown. Ảnh: Phonearena. |
Ngoài ra, trên bản vẽ, bằng sáng chế này còn có thể áp dụng lên cả smartphone. Đây có thể là ý tưởng không tồi. Nhưng sẽ còn phải chờ đợi một thời gian dài để đưa điều này vào iPhone hoặc iPad.
Còn với Apple Watch thế hệ thứ 3 sẽ ra mắt vào quý III năm nay, chưa có thông tin gì chắc chắn về những tính năng mà nó sẽ được trang bị. Tuy nhiên, đây được dự đoán là một sản phẩm mang tính đột phá của Apple.

