Nhiều báo cáo gần đây chỉ ra iPhone 8 sẽ sử dụng thiết kế dạng sandwich: Mặt trước và sau của máy sử dụng chất liệu kính, xen giữa là bộ khung bằng thép không gỉ.
Apple được cho sẽ loại bỏ thiết kế vỏ nhôm nguyên khối để quay lại vỏ kính nhằm trang bị sạc không dây cho iPhone 8. Tuy nhiên trong tương lai, có thể chất liệu gốm mới là thứ Apple hướng đến. Khi hoàn thiện, gốm sẽ chống trầy tốt hơn cả kính hoặc nhôm. Một chiếc iPhone Jet Black làm từ gốm sẽ không dễ bị trầy xước như trường hợp của iPhone 7 gần đây.
![]() |
| Chất liệu mới có thể giúp Apple loại bỏ một số phiền phức trên iPhone 7, chẳng hạn việc máy bị bám vân tay và dễ trầy xước. Ảnh: Cnet. |
Một báo cáo mới đây khẳng định Apple chắc chắn sẽ chuyển sang chất liệu gốm cho iPhone. Đây cũng là chất liệu đã từng sử dụng trên Apple Watch. Đơn đề nghị cấp bằng sang chế mới đây của Apple càng củng cố điều này.
Được phát hiện bởi Patently Apple, bằng sáng chế này có tên gọi “chất liệu gốm đánh bóng bằng laser”. Thực tế, Apple đã đệ đơn xin cấp bằng sáng chế này từ tháng 7/2015 cho thấy hãng đã thử nghiệm chất liệu gốm từ lâu. Bằng sáng chế này còn đề cập đến chất liệu sapphire, mô tả kỹ năng đánh bóng sapphire bằng laser trên iPhone.
Từ năm 2014, Apple đã nuôi ý định sử dụng chất liệu sapphire trên iPhone 6. Kế hoạch này sau đó thất bại. Để tạo ra loại sapphire Apple cần, đáp ứng về cả mặt chất lượng và số lượng là công việc rất khó khan, tiêu tốn cả thời gian và công sức.
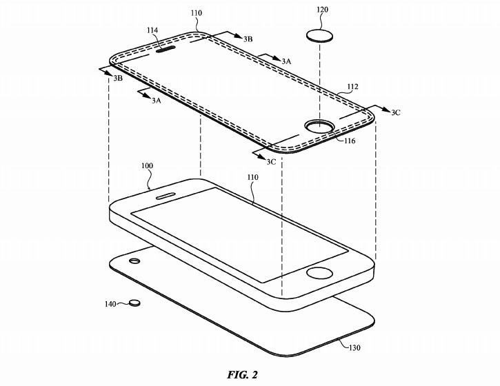
Điểm thú vị trong đơn xin cấp bằng sáng chế này là Apple sử dụng thiết bị có kiểu dáng giống hệt iPhone để mô phỏng. Bằng sáng chế này cũng hé lộ việc không chỉ mặt trước mà cả mặt sau của thiết bị cũng có thể sử dụng chất liệu sapphire.
![]() |
| Hình ảnh trong phần mô tả bằng sáng chế của Apple cho thấy hãng sẽ sử dụng nó trên iPhone. |
Khi đưa vào sử dụng, Apple sẽ tạo ra một chiếc iPhone có thể sạc không dây, có thể sống sót sau những cú rơi hoặc va chạm. Chiếc iPhone này sẽ không cần một loại case bảo vệ và phiên bản Jet Black cũng sẽ không biến dạng sau thời gian sử dụng.
Năm 2016, Apple cho ra mắt iPhone 7, 7 Plus với phiên bản màu Jet Black hoàn toàn mới. Hãng tự hào khoe hàng loạt công đoạn đánh bóng để tạo ra sản phẩm tuyệt vời như vậy. Tuy nhiên, Táo khuyết cũng khuyến cáo người dùng nên sử dụng vỏ bảo vệ bởi sản phẩm rất dễ bị trầy xước.
Trải nghiệm thực tế của người dùng cũng chứng minh điều này. Không ít người đã khóc dở mếu dở vì chiếc iPhone vàng ngọc của họ bị biến dạng đến mức không thể tưởng tượng được sau thời gian ngắn sử dụng.

