Một bằng sáng chế về màn hình gập của Apple mới đây đã được cập nhật, giúp người dùng hiểu rõ hơn ý định của Apple đối với iPhone màn hình gập.
Theo Cnet, bằng sáng chế này được đăng ký từ năm 2011 và đã được cập nhật lần đầu năm 2016, nhưng những hình ảnh cập nhật mới nhất cho thấy một loạt khả năng cho chiếc iPhone màn hình gập.
![]() |
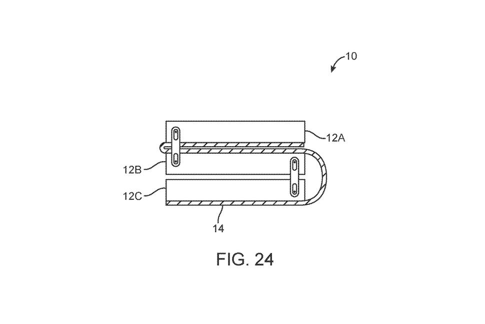
| Một bức phác thảo cho thấy ý tưởng thiết kế iPhone màn hình gập làm 3. Ảnh: Apple. |
Những bức ảnh mới cho thấy Apple đang tưởng tượng iPhone có kiểu dáng nắp gập, thậm chí là iPhone gập làm 3 hay cuộn tròn. Ngoài ra, kiểu dáng thiết kế với màn hình gập bên ngoài thiết bị cũng được tính đến. Những hình vẽ này cho thấy sự khác biệt với thiết kế mà nhiều hãng smartphone khác đang thực hiện.
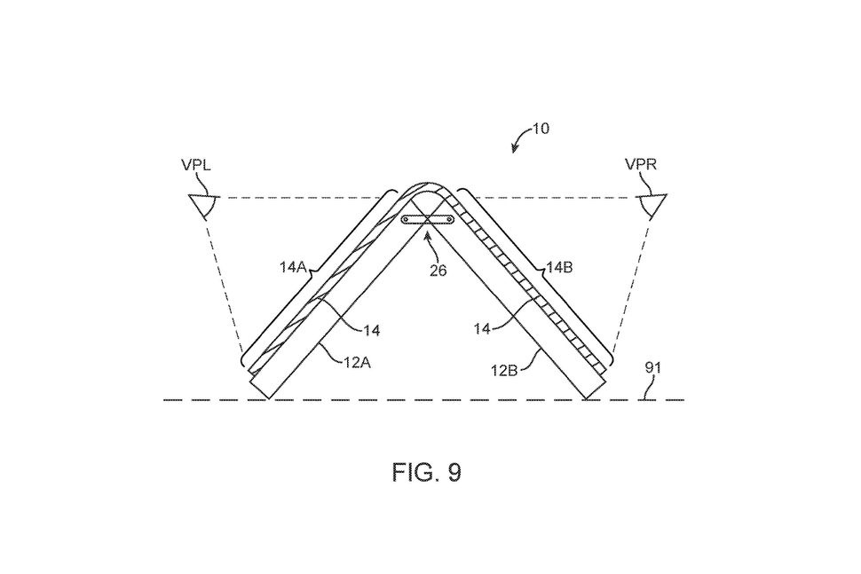
Theo GSMArena, điểm thú vị của những hình vẽ này là Apple đưa ra rất nhiều phương án đặt bản lề để có thể hiện thực hóa màn hình gập. Những phương án này cho phép màn hình gập vào trong hoặc ra ngoài, và trong tương lai hoàn toàn có thể ứng dụng cho MacBook hoặc iPad.
![]() |
| Nhiều ý tưởng trong bằng sáng chế của Apple có thể áp dụng cho những thiết bị khác như MacBook hay iPad. Ảnh: Apple. |
Tại MWC 2019, nhiều hãng smartphone như Samsung, Huawei, Xiaomi có thể sẽ giới thiệu những mẫu điện thoại màn hình gập của mình. Đặc điểm chung của những mẫu điện thoại này là sử dụng màn hình OLED dẻo, có thể gập vào để thu nhỏ kích thước tương đương smartphone, hoặc mở ra để có màn hình lớn như máy tính bảng. Đến nay, 3 hãng nói trên đều đã xác nhận sẽ giới thiệu điện thoại màn hình gập trong sự kiện cuối tháng 2.
Mặc dù Samsung có thông tin sớm nhất về chiếc điện thoại màn hình gập, một startup có trụ sở tại California là Royole mới là hãng đầu tiên ra mắt sản phẩm. Chiếc Royole Flexpai được giới thiệu vào tháng 10/2018, có màn hình AMOLED 7,8 inch cong và được điều chỉnh giao diện thay đổi phù hợp với hình dáng màn hình.
![]() |
| Chiếc điện thoại Royole Flexpai hiện đã được bán ra. Ảnh: Cnet. |
Chiếc Royole Flexpai được bán với giá khởi điểm 1.318 USD. Nhiều khả năng các smartphone màn hình gập khác ra mắt trong năm nay cũng thuộc phân khúc cao cấp, với mức giá cao ngất ngưởng.


