Nếu không có gì thay đổi, Apple sẽ ra mắt iPhone 12 vào tháng 9 năm nay. Với chu kỳ 3 năm, BGR dự đoán iPhone 12 sẽ là chiếc iPhone có thiết kế mới từ khi iPhone X ra mắt năm 2017.
Theo nhà phân tích Ming-Chi Kuo từ TF Securities, iPhone 12 sẽ có thiết kế hình hộp chữ nhật với cạnh phẳng giống iPhone 4 và iPhone 5. Điểm trừ duy nhất là lỗ khuyết màn hình cho cụm cảm biến vẫn tồn tại. Trong khi nhiều hãng đã phát triển camera pop-up hay lỗ khuyết tròn, dường như Apple vẫn chưa tìm ra giải pháp phù hợp.
Rõ ràng iPhone 12 là dòng iPhone được chờ đợi nhất trong 3 năm qua. Tuy nhiên so với những đối thủ, iPhone 12 vẫn còn một chút gì đó lỗi thời.
|
| Ảnh rò rỉ mặt trước của iPhone 12. Ảnh: Concept Creator/YouTube. |
Trên đây là ảnh dựng mặt trước của iPhone 12. Có thể thấy so với viền màn hình mỏng, cong sang 2 bên và lỗ khuyết cho camera trước của Galaxy S20 - dòng smartphone cao cấp mới ra mắt của Samsung, mặt trước của iPhone 12 không có nhiều ấn tượng.
Tuy nhiên, đó chưa phải tất cả. Bên cạnh S20, Samsung còn giới thiệu Galaxy Z Flip - mẫu smartphone màn hình gập với thiết kế vỏ sò truyền thống. Khác với Galaxy Fold, thiết kế gập của Z Flip giúp máy nhỏ gọn hơn khi gập để bỏ vào túi quần hay giỏ xách, còn khi mở ra sẽ để lộ màn hình lớn bên trong để sử dụng như smartphone thông thường.
2020 được dự đoán sẽ là năm bùng nổ của smartphone gập sau màn ra mắt không quá suôn sẻ vào năm ngoái. Trong khi Huawei, Samsung đã ra mắt smartphone gập, Apple là cái tên duy nhất trong top 3 nhà sản xuất hàng đầu vẫn "im hơi lặng tiếng" về việc gia nhập thị trường thú vị này.
|
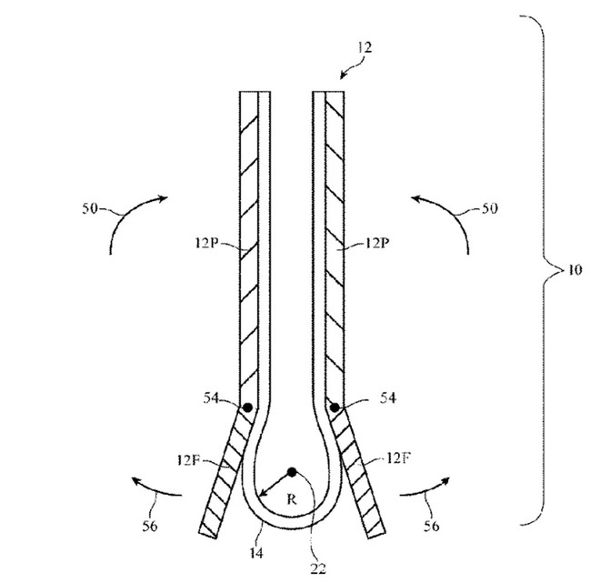
| Thiết kế bản lề phức tạp của iPhone màn hình gập được Apple nộp lên văn phòng bằng sáng chế Mỹ. Ảnh: CNET. |
Tất nhiên, điều đó không có nghĩa Apple không quan tâm đến smartphone gập. Ngày 26/2, William LaCourse, Giáo sư tại Đại học Alfred (Mỹ), tiết lộ rằng Táo khuyết đang phát triển iPhone màn hình gập để ra mắt vào năm 2021. Ông cho biết Corning, hãng sản xuất kính bảo vệ Gorilla Glass cũng đang phát triển kính cường lực cho smartphone màn hình gập và "sẽ ra mắt trong chưa đầy một năm tới".
Trong một hồ sơ có tiêu đề "Thiết bị điện tử có màn hình và bản lề linh hoạt" do Văn phòng Bằng sáng chế và Thương hiệu Mỹ công bố, Apple đã tiết lộ thiết kế của một smartphone có màn hình gập lại được.
|
| Video mô phỏng thiết kế iPhone màn hình gập. Ảnh: @bad_not_bad/Instagram. |
Theo đó, Apple sẽ uốn cong màn hình theo cách khiến phần giữa hơi cong ra ngoài một chút trước khi gập màn hình lại. Điều này cho phép các phần chính và các cạnh của màn hình tương tác với nhau một cách linh hoạt không chịu ảnh hưởng của khu vực cong, giúp phần uốn cong hoạt động ở bán kính mở rộng, giảm thiểu sức ép của các bộ phận.
Tất nhiên công nghệ hiện tại chưa đủ hoàn thiện để iPhone gập được sản xuất hàng loạt, tuy nhiên một người dùng Instagram đã thiết kế video mô phỏng chiếc iPhone gập trông sẽ ra sao nếu được ra mắt.
Mẫu iPhone gập trong video có thiết kế vỏ sò giống Galaxy Z Flip, tuy nhiên màn hình phụ bên ngoài có kích thước lớn hơn để người dùng tương tác, thậm chí lướt Instagram chứ không chỉ xem giờ, chụp selfie như Z Flip. Thay vì mở bằng tay, bạn chỉ cần vuốt từ dưới lên để máy tự bật ra, để lộ màn hình lớn bên trong.
Dù chỉ là ý tưởng do fan thiết kế, chúng ta hoàn toàn có thể tin tưởng một chiếc iPhone màn hình gập sẽ xuất hiện trong tương lai.
