|
|
Theo tin rò rỉ, iPhone 15 Pro Max sẽ là mẫu máy duy nhất trong dòng iPhone 15 được trang bị ống kính tiềm vọng. Ảnh: Technizo. |
Đây cũng là lần đầu tiên Apple trang bị ống kính tiềm vọng trên một mẫu iPhone, giúp cải thiện rõ rệt chất lượng ảnh khi zoom quang học. Camera với ống kính tiềm vọng đã xuất trên nhiều mẫu smartphone cao cấp chạy hệ điều hành Android và tới thế hệ iPhone 15 thì duy nhất iPhone 15 Pro Max sẽ có tính năng này.
Để tăng sức nặng cho dự đoán này, nhà phân tích Ming-Chi Kou tới từ TF International Securities còn tiết lộ đối tác cung ứng ống kính tiềm vọng cho iPhone 15 Pro Max sẽ là Largan và giá của linh kiện này ở mức 4 USD/bộ.
Việc thiếu ống kính tiềm vọng đã khiến nhiều thế hệ iPhone ra mắt gần đây chỉ có thể zoom quang học được tới 3x, trong khi smartphone dòng S của Samsung đã có khả năng zoom quang học 10x từ lâu và Pixel của Google cũng có khả năng zoom quang học 5x.
|
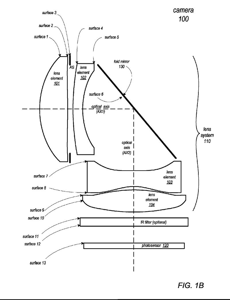
| Một bằng sáng chế của Apple mô tả công nghệ ống kính "gấp khúc" trên điện thoại thông minh. Ảnh: Macrumors. |
Theo nhà phân tích này, việc tích hợp ống kính tiềm vọng sẽ giúp iPhone 15 Pro Max có khả năng zoom quang học 6x và là nâng cấp đáng kể về camera cho iPhone.
Sau iPhone 15 Pro Max, ở thế hệ iPhone 16, ống kính kính tiềm vọng vẫn sẽ chỉ giới hạn ở mẫu Pro Max, Kuo cho biết. Trong ít nhất 2 năm tới, người dùng iPhone phải bỏ tiền cho mẫu đắt nhất nếu muốn tiếp cận công nghệ này.
Tuy nhiên, thông tin của Kuo đang mâu thuẫn với một báo cáo từ The Elec cho biết ống kính tiềm vọng sẽ có trên cả iPhone 16 Pro và iPhone 16 Pro Max vào năm 2024.
Trong vài năm qua, iPhone Pro và Pro Max có các tính năng tương đương nhau, chỉ khác ở kích thước màn hình và thời lượng pin. Việc Apple giới hạn công nghệ thu phóng quang học cho mẫu Pro Max có thể sẽ gây bức xúc cho những người dùng thích công nghệ mới nhất nhưng muốn mẫu máy kích thước nhỏ.
Ngoài ống kính tiềm vọng, iPhone 15 Pro Max cũng được dự đoán sẽ sở hữu khung titanium bền và nhẹ hơn, viền màn hình mỏng hơn, tấm nền 120 Hz ProMotion cùng con chip A17 Bionic - vi xử lý đầu tiên trên điện thoại gia công theo tiến trình 3 nm, hứa hẹn hiệu năng mạnh hơn và tiết kiệm pin hơn.
Những câu chuyện bên trong Apple
Văn hóa bí mật luôn là một điểm đặc biệt của Apple. Cuộc đời Steve Jobs, Tim Cook và quá trình sáng tạo những sản phẩm quan trọng như iPhone thường chỉ được tiết lộ qua những trang sách, nơi các tác giả dành nhiều năm để mang tới những câu chuyện hấp dẫn
