|
|
Bộ điều khiển xe được lấy cảm hứng từ chiếc tay cầm Xbox. Ảnh: Carbuzz. |
Vừa qua, Huyndai và Kia đã gửi bằng sáng chế đến Văn phòng Sáng chế và Nhãn hiệu Hoa Kỳ về một thiết bị điều khiển trên xe ôtô lấy cảm hứng từ những trò chơi.
Theo Carbuzz, điều này đồng nghĩa với việc trong tương lai, những mẫu xe đến từ 2 nhà sản xuất ôtô này sẽ không còn được trang bị vô lăng như trước mà thay bằng tay cầm điều khiển tương tự Xbox hay PlayStation.
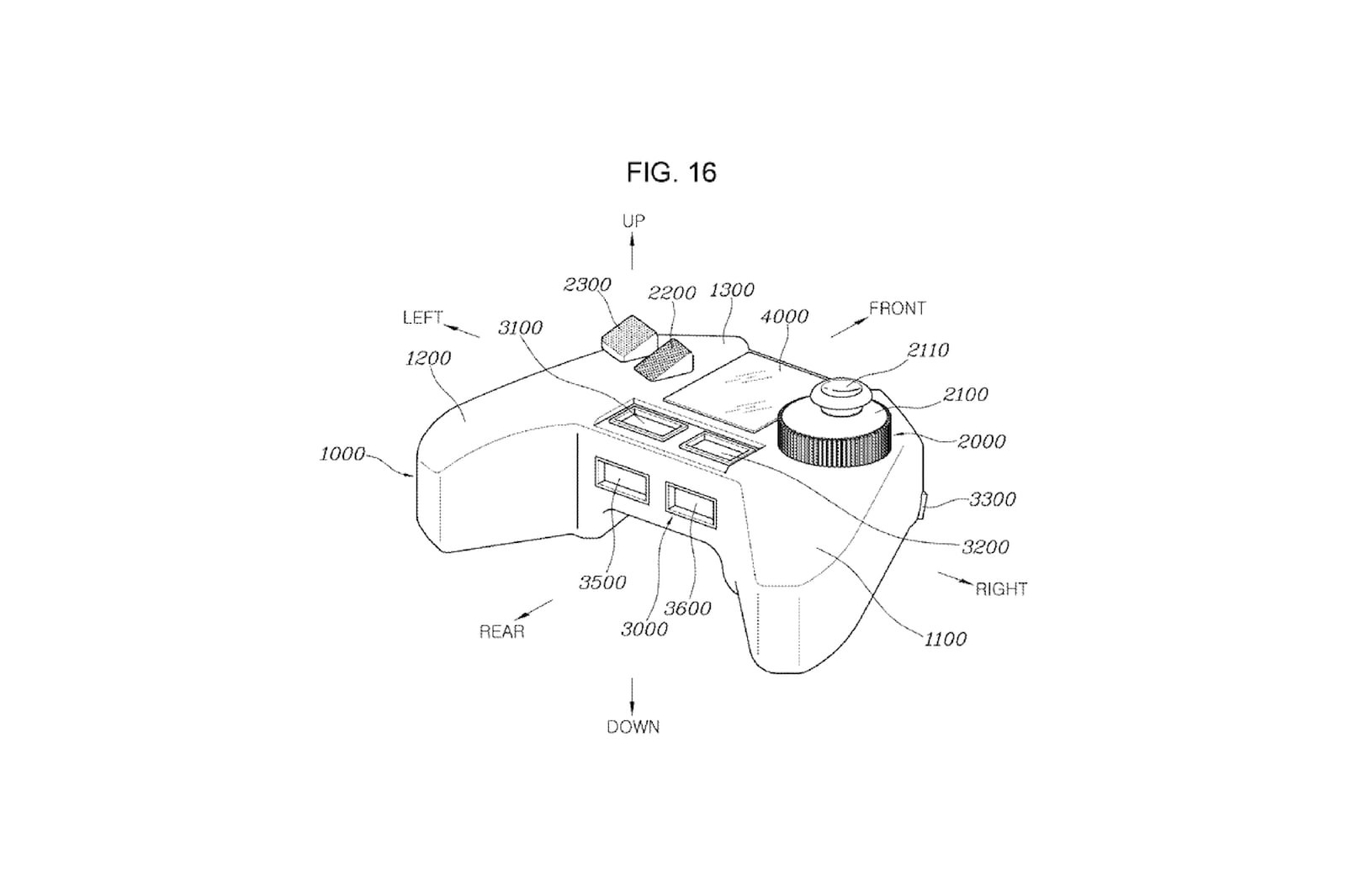
Theo bản thiết kế, sẽ có 2 loại tay cầm được chế tạo dành cho việc điều khiển một tay hoặc 2 tay. Ở phiên bản một tay, “vô lăng” này sẽ trông giống một một báng súng lục với các nút được bố trí xung quanh.
![]() ![]() |
| Bản thiết kế tay cầm điều khiển xe thay cho vô lăng của Kia và Hyundai. Ảnh: Carbuzz. |
Tay cầm được kết nối trực tiếp với xe và cho phép tài xế có thể điều khiển dù đang ngồi ở hàng ghế phía sau. Trong khi đó phiên bản còn lại được chế tạo dựa trên tay cầm Xbox với các nút trượt, công tắc điều khiển nằm phía trên.
Một tính năng nổi bật của bộ điều khiển này là “dead man switch”, được ví như nút nguồn của toàn bộ vô lăng. Người lái cần kích hoạt nút nguồn để khởi động hệ thống sau đó điều khiển xe thông qua nút trượt.
Nhiều người cho rằng đây là một phát minh vô nghĩa bởi vô lăng truyền thống đã hoàn thành tốt nhiệm vụ của nó từ xưa đến nay. Tuy nhiên đây vẫn được xem như một cột mốc đánh dấu việc con người dần áp dụng thế giới ảo vào hiện thực.
Tên hãng xe điện của Elon Musk có ý nghĩa gì?
Chuyên mục Xe gửi tới độc giả tựa sách "Elon Musk: Tesla, SpaceX và sứ mệnh tìm kiếm một tương lai ngoài sức tưởng tượng". Trong cuốn sách này, độc giả có thể tìm hiểu vì sao Elon Musk lại đặt tên cho hãng xe điện của mình là Tesla.

