Bạn có thể chuyển sang phiên bản mobile rút gọn của Tri thức trực tuyến nếu mạng chậm. Đóng

iPhone có thể trang bị tính năng 'bóp' giống HTC

Apple vừa được cấp phép hàng loạt bằng sáng chế, trong đó có tính năng bóp cạnh bên để kích hoạt một số tính năng.

Apple mới được cấp phép một số bằng sáng chế có liên quan đến các công nghệ mà hãng có thể sẽ sử dụng trên iPhone 2018. Trong số đó có tính năng bóp cạnh như trên Google Pixel 2 và HTC U12+ cùng với một số công nghệ điều hướng trong nhà và cải thiện flash của máy ảnh.

Tính năng bóp cạnh

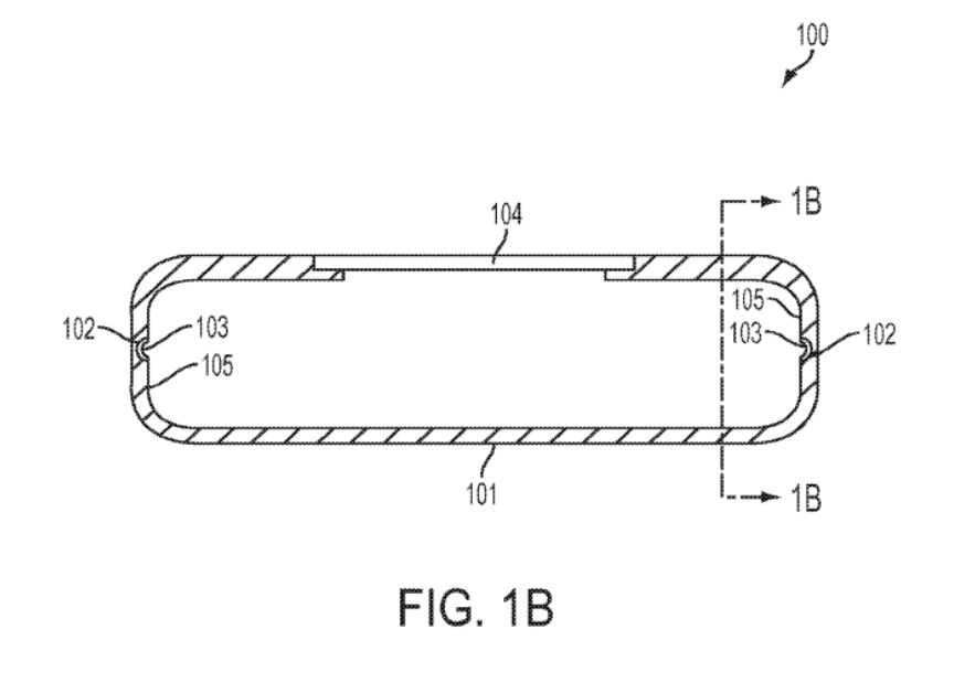
Có vẻ như Apple sẽ tích hợp một tính năng giống như Edge Sense lên các thiết bị iPhone mới. Một trong những bằng sáng chế đã chỉ ra thiết bị sẽ có một "điểm tập trung". Khi khung được bóp, điểm này sẽ biến dạng và kích hoạt các cảm biến bên dưới. Chưa rõ Apple sẽ sử dụng tính năng này để kích hoạt Siri hay bất kỳ chức năng nào khác.

Apple hoc hoi HTC anh 1
Apple có thể trang bị tính năng bóp cạnh giống như HTC.

Trong khi Edge Sense của HTC hoạt động nhờ các cảm biến áp suất, được đặt dọc theo khung của thiết bị thì Apple có vẻ sẽ tiếp cận tính năng này theo một cách khác thân thiện hơn. 

Cải tiến đèn flash

Từ iPhone 5s, Apple đã sử dụng một đèn LED màu trắng và một màu vàng để tạo ra ánh sáng cân bằng hơn. Trên iPhone 7 số lượng này tăng lên 4 mang lại lượng ánh sáng lớn hơn. Và sắp tới, Apple có thể sẽ tiếp tục cải tiến đèn flash với một giải pháp hoàn toàn mới.

Apple hoc hoi HTC anh 2
Apple sẽ cải tiến đèn flash trên các thiết bị iPhone mới.

Bằng sáng chế này cho thấy Apple sẽ tích hợp 4 đèn LED nhưng mỗi mô-đun được phủ lên một vật liệu khuếch tán ánh sáng khác nhau.

Theo đó, phần mềm sẽ tự động chọn mức độ sáng phù hợp để đạt được sự cân bằng tốt nhất cho mỗi cảnh. Ngoài ra, với bằng sáng chế này, người dùng cũng có thể điều chỉnh cường độ ánh sáng bằng tay.

Tìm kiếm đồ vật trong phòng

Một bằng sáng chế khác cho thấy giải pháp tìm kiếm đồ vật mới trong phòng. Hàng loạt các phím ấn sẽ được thiết lập trong cửa hàng. Khi bước vào cửa hàng, điện thoại sẽ tự động kết nối với hệ thống và các thông tin về đồ vật mà người dùng cần tìm sẽ được gửi tới máy.

Apple hoc hoi HTC anh 3
Với bằng sáng chế mới, người dùng có thể dễ dàng tìm các đồ vật trong cửa hàng.

Bảo vệ iPhone tốt hơn

Cuối cùng là bằng sáng chế phác thảo tính năng bảo vệ điện thoại và máy tính bảng khỏi các va chạm. Theo đó, khi máy bị rơi, một chi tiết nào đó có thể phun khí từ bên trong và khiến iPhone "bay" giữa không trung để có nó tiếp đất một cách nhẹ nhàng nhất.

Apple hoc hoi HTC anh 4
Bằng sáng chế giúp gia tăng độ bền cho iPhone và các máy tính bảng.

Theo bằng sáng chế này, một bộ xử lý đặc biệt sẽ tính toán lực tác động. Nếu bộ xử lý phát hiện quá nhiều áp lực xung quanh, nó sẽ phân tán chúng về các phía khác được thiết kế để hấp thụ lực. Và điều này sẽ phải diễn ra thật nhanh.

Loạt smartphone cao cấp cho những người ghét 'tai thỏ'

Sau khi iPhone X ra mắt, hàng loạt smartphone Android cũng học hỏi theo làm "tai thỏ". Nhưng nếu bạn không thích phần notch này thì hãy lựa chọn ngay những mẫu máy sau.

Thế Anh

Theo PhoneArena

Bạn có thể quan tâm