Bạn có thể chuyển sang phiên bản mobile rút gọn của Tri thức trực tuyến nếu mạng chậm. Đóng

Hé lộ thiết kế camera mới của iPhone

Bằng sáng chế cho thấy thiết kế camera độc đáo có thể được Apple sử dụng trên iPhone, iPad trong tương lai.

Theo Forbes, bằng sáng chế mô tả ốp lưng chứa camera cho iPhone. Khi gắn vào, nó sẽ kết nối với camera trên máy cho các chế độ đặc biệt như chụp ảnh 3D hay toàn cảnh (panorama) góc siêu rộng.

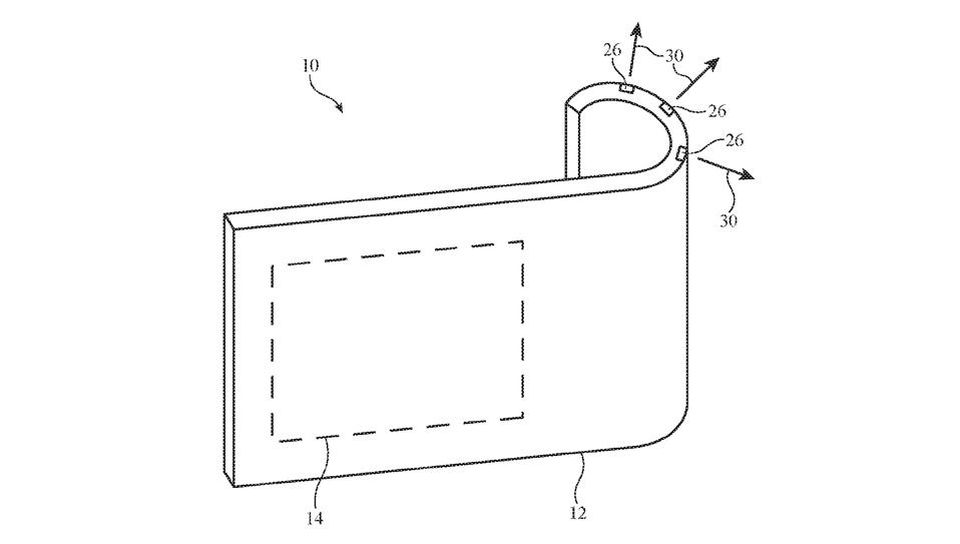
Op lung camera cho iPhone anh 1

Thiết kế ốp lưng camera dạng cuốn sách cho iPhone của Apple. Ảnh: USPTO.

Việc bổ sung camera lên ốp lưng được cho sẽ tăng khoảng cách giữa các cảm biến, nâng cao khả năng nhận diện chiều sâu và không gian 3 chiều.

Do ốp lưng được thiết kế dẻo, người dùng có thể uốn cong ốp để thay đổi vị trí camera, phục vụ chụp ảnh panorama siêu rộng hoặc chụp đối tượng theo nhiều góc độ khác nhau.

Một trong những thiết kế dành cho ốp lưng này là dạng cuốn sách. Bằng cách kết hợp camera trên điện thoại với camera trên mặt còn lại của ốp, người dùng có thể tùy chỉnh góc chụp bằng cách đóng hoặc mở ốp tương tự cuốn sách. Những thiết kế ốp phức tạp hơn như uốn cong giống thước dẻo hoặc gập ở các góc.

Theo mô tả, camera trên ốp lưng sẽ kết nối với iPhone qua giao thức không dây lẫn có dây, nghĩa là người dùng có thể tháo ốp khi không sử dụng. Các hãng phụ kiện cũng có thể ra mắt ốp lưng camera nếu được cấp phép.

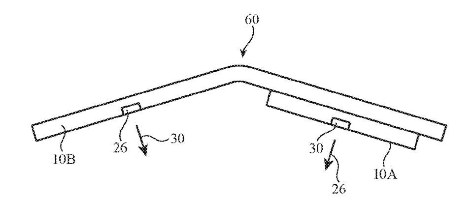
Op lung camera cho iPhone anh 2

Một thiết kế khác cho ốp lưng camera uốn dẻo trên iPhone. Ảnh: USPTO.

Ngoài ốp lưng camera cho iPhone, bằng sáng chế được đăng tải trên Văn phòng Sáng chế và Nhãn hiệu Mỹ (USPTO) còn mô tả chiếc laptop với 6 camera xung quanh vỏ máy, hỗ trợ chụp ảnh 3D và điều khiểu bằng cử chỉ.

Nếu bằng sáng chế trở thành hiện thực, đây sẽ là một trong những nâng cấp lớn nhất cho MacBook bởi webcam FaceTime 720p hiện nay bị cho là quá cũ.

iPhone 13 có thể ra mắt với màn hình gập và cảm biến vân tay Theo thông tin mới được tiết lộ, Apple đang thử nghiệm cảm biến vân tay trong màn hình cho iPhone 13 với thiết kế gập và tai thỏ nhỏ hơn.

'iPhone 12 Pro Max sẽ là model bán chạy nhất dịp Tết’

Các hệ thống bán lẻ ở Việt Nam đều dự đoán iPhone 12 Pro Max sẽ trở thành sản phẩm chủ lực, thu hút người dùng mua sắm dịp cận Tết.

Đi mua iPhone cũ, cần cài ngay app này

Ứng dụng có thể kiểm tra nhanh chóng, dễ dàng hầu hết bộ phận phần cứng, cảm biến, linh kiện của iPhone.

Phúc Thịnh (theo Forbes)

Bạn có thể quan tâm