Chụp hình dưới nước không phải là một khái niệm quá xa lạ. Thể loại này đã được nhiều nhiếp ảnh gia chuyên nghiệp và nghiệp dư phát triển mạnh mẽ, tận dụng sức mạnh của thiết bị để thể hiện những thứ không thể nhìn thấy từ trên mặt nước như cá bơi hay các rạn san hô. Công nghệ phát triển càng giúp việc chụp hình dưới nước trở nên dễ tiếp cận hơn với người dùng phổ thông.
Tuy vậy, các thiết bị chụp ảnh hiện nay cơ bản được thiết kế để hoạt động trong môi trường ánh sáng bình thường. Lượng ánh sáng ít và màu sắc không rõ ràng của môi trường nước có thể khiến bức ảnh tệ hơn nhiều so với mong đợi của người dùng. Apple gọi đây là ảnh “có màu xanh lục không mong muốn.”
Trong một bằng sáng chế được Văn phòng Phát minh và Bằng sáng chế Hoa Kỳ công bố hôm 28/3 với tiêu đề “Thiết bị điện tử chìm có khả năng chụp ảnh”, Apple đã đề xuất một hệ thống có thể tự động phát hiện khi chụp ảnh dưới nước và sử dụng các thuật toán để cải thiện chất lượng bức ảnh.
![]() |
| Biểu đồ các bước mà hệ thống này thực hiện để cải thiện ảnh chụp dưới nước. Ảnh: Appleinsider. |
Một khi thiết bị phát hiện người dùng đang ở dưới nước, một loạt cảm biến được kích hoạt để tính toán xung quanh. Trong đó bao gồm một cảm biến ánh sáng môi trường, có chức năng đo quang phổ ánh sáng trên và dưới mặt nước. Từ đó, máy xác định lượng ánh sáng mà mặt nước hấp thụ, thứ sẽ ảnh hưởng trực tiếp đến ảnh chụp.
Những cảm biến còn lại bao gồm độ sâu, khoảng cách, áp lực và cảm biến phương hướng. Một máy dò ánh sáng cũng được trang bị để đo độ mờ của nước qua những ánh sáng tán xạ ngược.
Hệ thống chụp ảnh này có thể thay đổi màu sắc của bức ảnh về màu nước tự nhiên tại nơi chụp, loại trừ những tia sáng dư thừa mà mặt nước hấp thụ cũng như tăng độ chi tiết của chủ thể nếu môi trường nước quá tối tăm và khó nhìn.
![]() |
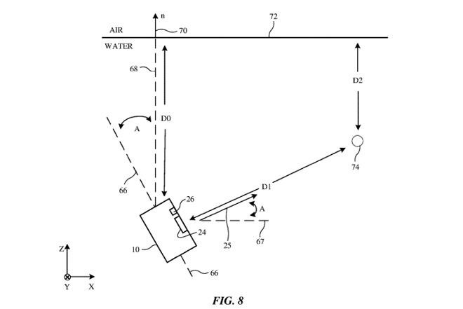
| Các điểm đo của hệ thống. Ảnh: Appleinsider. |
Apple đăng ký rất nhiều bằng sáng chế hàng tuần, và không phải tất cả đều được mang lên các sản phẩm của hãng. Nhưng ít nhất chúng cũng cho người dùng biết được Apple đang quan tâm tới những vấn đề nào.
Trong trường hợp này, mảng cảm biến được trang bị trên iPhone sẽ có khả năng thực hiện nhiều chức năng hơn. Nếu hệ thống này hoàn thiện, Apple có thể sẽ cung cấp đến cho người dùng như một bản cập nhật phần mềm cho các smartphone đã có khả năng chống nước.
Tin đồn hiện tại cho thấy các mẫu iPhone 2019 có thể được trang bị hệ thống ba camera với cảm biến hình ảnh có chức năng lập bản đồ độ sâu, phục vụ cho các trải nghiệm AR và tăng khả năng chụp chân dung của máy.

