Những cách nhận diện độc đáo như nhịp tim, tĩnh mạch, selfie, mống mắt... được dự đoán sẽ thay thế mật khẩu phổ thông trong tương lai.
 |
| Nhận diện nhịp tim: Giống như dấu vân tay, không có nhịp tim nào là giống nhau hoàn toàn. Dựa vào đó, các nhà khoa học đã sử dụng bộ cảm biến điện tâm đồ (ECG) nhằm chuyển nhịp tim của một người thành "chữ ký đặc biệt" để xác minh danh tính. Hiện tại, với Nymi Band, thiết bị đã hiện thực hóa ý tưởng trên, người dùng chỉ cần nghe một bản nhạc để mở mật khẩu trên máy tính. |
 |
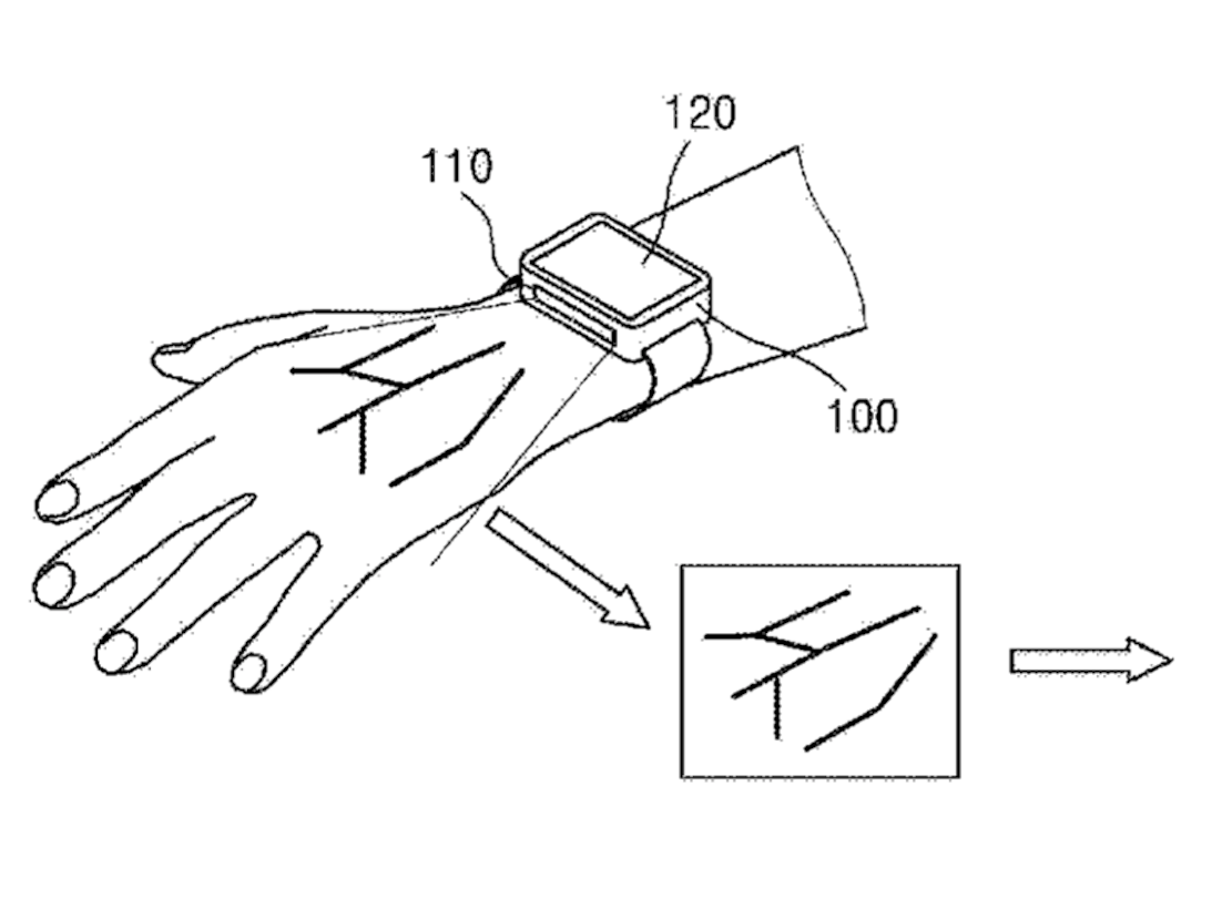
| Nhận diện tĩnh mạch: Cũng giống như nhịp tim, dấu vân tay, mẫu tĩnh mạch cũng là thứ nhằm xác định danh tính con người. Trong đơn xin cấp bằng sáng chế vào năm 2015, Samsung đã gợi ý sử dụng mẫu tĩnh mạch ở mặt sau của người dùng trong việc thay thế mật khẩu. Cụ thể, camera gắn trên đồng hồ thông minh vẽ ra tĩnh mạch của người đeo. Khi được xác nhận là đúng, họ có thể làm mọi thứ từ việc mua nhạc để đăng nhập vào tài khoản.
|
 |
| Selfie: Đây là ý tưởng khá phổ biến và đang được thử nghiệm bởi nhiều công ty. Thiết bị sẽ chụp lại khuôn mặt của người dùng để xử lý. Hiện nay, nhiều điện thoại thông minh Android có tính năng này. Tuy nhiên, mức độ nhận diện vẫn chưa tốt. |
 |
| Đo kích thước bộ phận cơ thể: Một bằng sáng chế của Google đưa ý tưởng nhận dạng danh tính bằng cách đo kích thước của bộ phận cơ thể. Camera có cảm biến chiều sâu sẽ ghi lại ảnh của người dùng và phần mềm sẽ phân tích mức độ tương quan cơ thể để đưa ra kết quả.
|
 |
| Nhận diện mống mắt: Xác nhận danh tính bằng phương pháp nhận diện mống mắt giống các bộ phim viễn tưởng đã trở thành hiện thực. Một số điện thoại có tính năng này như Lumia 950, Samsung Galaxy Note 7, Vivo X5 Pro, Fujitsu Arrows NX... |
 |
| Trang sức: Mật khẩu dài 20 ký tự sẽ rất dễ quên nhưng khó để mất thiết bị đeo quanh cổ tay hoặc ngón tay. Một số công ty về bảo mật đang khám phá cách sử dụng công nghệ đeo như một cách để mở khóa thiết bị. Chức năng này đã được tích hợp sẵn trong Apple Watch.
|
 |
| Nhận dạng đôi môi: Một nhóm các nhà khoa học tại Đại học Baptist (Hong Kong) đã tạo ra phần mềm nhận dạng môi để xác định danh tính dựa trên cách phát âm những từ nhất định. Người dùng chỉ cần nói (hay nhép môi) mật khẩu phía trước camera để mở khóa. Cho dù kẻ xấu biết được mật khẩu nhưng vẫn không có tác dụng nếu không có đôi môi của người dùng. |
 |
| Nhận dạng tiếng nói: Ngày càng có nhiều công ty đang sử dụng phần mềm nhận dạng giọng nói như là một cách để chứng thực khách hàng. Hiện nay, ngân hàng HSBC hay TalkTalk ở Anh cho phép người dùng đăng nhập vào tài khoản chỉ bằng giọng nói.
|
 |
| Thuốc viên nhận dạng: Motorola đã đưa ra ý tưởng về một thiết bị dạng "viên thuốc" có thể nuốt được, truyền tín hiệu cho các thiết bị lân cận xung quanh. Nếu người dùng đang ở gần điện thoại hoặc máy tính, nó sẽ tự động mở khóa. Nhưng vẫn không cho kẻ lạ xâm nhập vào. |
công nghệ thay thế password
công nghệ thay thế mật khẩu
nhận diện không mật khẩu
xác nhận không password
nhận diện không password
công nghệ sinh trắc học
những công nghệ thay cho mật khẩu