Bạn có thể chuyển sang phiên bản mobile rút gọn của Tri thức trực tuyến nếu mạng chậm. Đóng

Những bằng sáng chế kỳ lạ của Apple

Dây đồng hồ tự co giãn, xe hơi không cửa sổ, laptop với bàn phím cảm ứng là những bằng sáng chế thú vị nhưng chưa từng được Apple thương mại hóa.

Nhung bang sang che ky la cua Apple anh 1

Năm 2017, Apple nộp bằng sáng chế mô tả phụ kiện biến iPhone thành laptop. Đó là chiếc dock tích hợp màn hình, pin và bàn phím. Khi gắn iPhone vào khe trống bên dưới (vốn dành cho trackpad), thiết bị sẽ hoạt động như laptop, tận dụng sức mạnh của chip xử lý và bộ nhớ. Ý tưởng này từng được Motorola áp dụng vào năm 2011 nhưng không thành công.

Nhung bang sang che ky la cua Apple anh 2

Một bằng sáng chế khác là dây đeo Apple Watch với cảm biến sinh trắc học, tự điều chỉnh độ co giãn dựa trên kích thước cổ tay người dùng. Theo Gizmodo, dây đeo này có thể sử dụng nitinol, loại hợp kim dùng trong lò xo hoặc bơm khí vào trong ruột dây.

Nhung bang sang che ky la cua Apple anh 3

Một số người không thích hành động dùng điện thoại quay phim tại các buổi hòa nhạc vì có thể che tầm nhìn. Để ngăn chặn điều này, Apple đã nộp bằng sáng chế vào năm 2019 cho hệ thống cảm biến hồng ngoại, tự động gửi tin nhắn đến iPhone để yêu cầu dừng quay phim.

Nhung bang sang che ky la cua Apple anh 4

Một bằng sáng chế kỳ lạ khác mô tả chiếc xe hơi tự lái không có cửa sổ, thay bằng hệ thống thực tế ảo (VR) để hiển thị không gian bên ngoài trước mắt hành khách. Theo Apple, hệ thống này giúp giảm say xe bởi cửa sổ thông thường có thể khiến não bộ xung đột do nhận các tín hiệu chuyển động khác nhau.

Nhung bang sang che ky la cua Apple anh 5

Bằng sáng chế mới được cấp vào tháng 5 mô tả phụ kiện cho cho iPad, có thể hoạt động ở nhiều chế độ theo tư thế đặt máy. Ví dụ, khi gắn phụ kiện lên mặt lưng iPad, màn hình phía trên sẽ hiện thời lượng pin, số thông báo, ngày giờ và dòng chữ do người dùng tự cài đặt. Một phụ kiện khác có ngoại hình giống bàn phím của tablet Surface, tuy nhiên bản lề có thể gắn thêm camera, máy chiếu hoặc micro.

Nhung bang sang che ky la cua Apple anh 6

Bằng sáng chế mới được cấp vào tháng 5 mô tả phụ kiện cho cho iPad, có thể hoạt động ở nhiều chế độ theo tư thế đặt máy. Ví dụ, khi gắn phụ kiện lên mặt lưng iPad, màn hình phía trên sẽ hiện thời lượng pin, số thông báo, ngày giờ và dòng chữ do người dùng tự cài đặt. Một phụ kiện khác có ngoại hình giống bàn phím của tablet Surface, tuy nhiên bản lề có thể gắn thêm camera, máy chiếu hoặc micro.

Nhung bang sang che ky la cua Apple anh 7

Năm 2021, Apple đã nộp bằng sáng chế mô tả laptop với bàn phím cảm ứng, có thể tùy chỉnh bố cục hoặc chức năng tùy thích. Khu vực này cũng có thể dùng làm đế sạc không dây, cảm biến vân tay, trackpad, nhận diện cử chỉ đa điểm hoặc bật/tắt tính năng nhất định. Lenovo từng ra mắt laptop với ý tưởng tương tự, bàn phím ảo là màn hình E Ink.

Nhung bang sang che ky la cua Apple anh 8

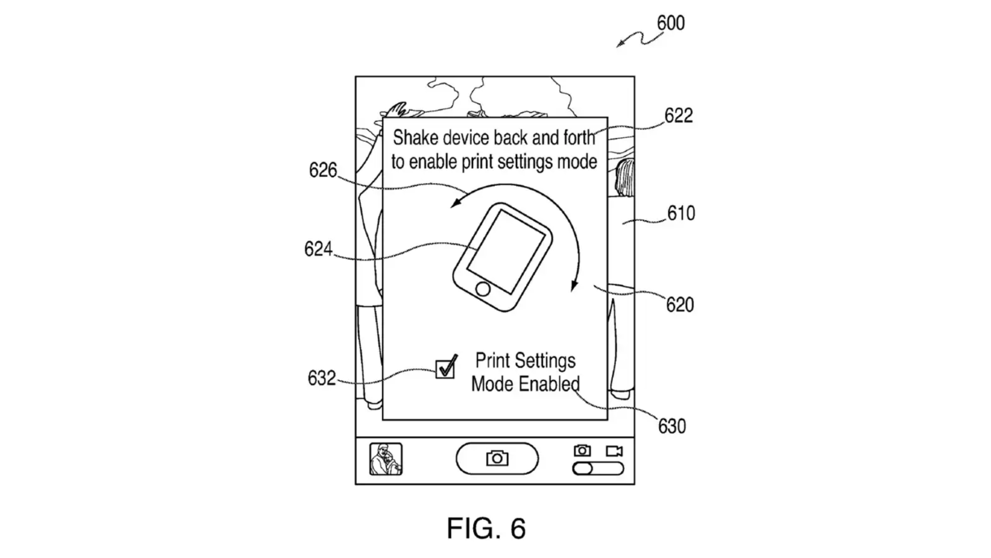
Một bằng sáng chế khác được nộp từ năm 2011 mô tả tính năng “lắc để in” (shake to print), giúp người dùng lắc iPhone hoặc iPod để bật tùy chọn in ảnh. Tính năng này hoạt động khá giống “lắc để phát nhạc ngẫu nhiên” (shake to shuffle), nhưng chưa bao giờ được cập nhật chính thức cho iPhone hay iPod.

Nhung bang sang che ky la cua Apple anh 9

Trong bằng sáng chế nộp vào năm 2021, Apple đăng ký bản quyền thiết kế iPhone mang dáng dấp “máy bào phô mai” của Mac Pro 2019. Theo mô tả, thiết kế này cung cấp luồng không khí tối đa giúp máy hoạt động mát hơn, cải thiện hiệu năng tổng thể mà không làm tăng trọng lượng, dẫn đến "một thiết bị điện tử tương đối nhẹ nhưng cực kỳ mạnh và cứng cáp”. Dù vậy, thiết kế này chưa từng xuất hiện trên iPhone chính thức.

Nhung bang sang che ky la cua Apple anh 10

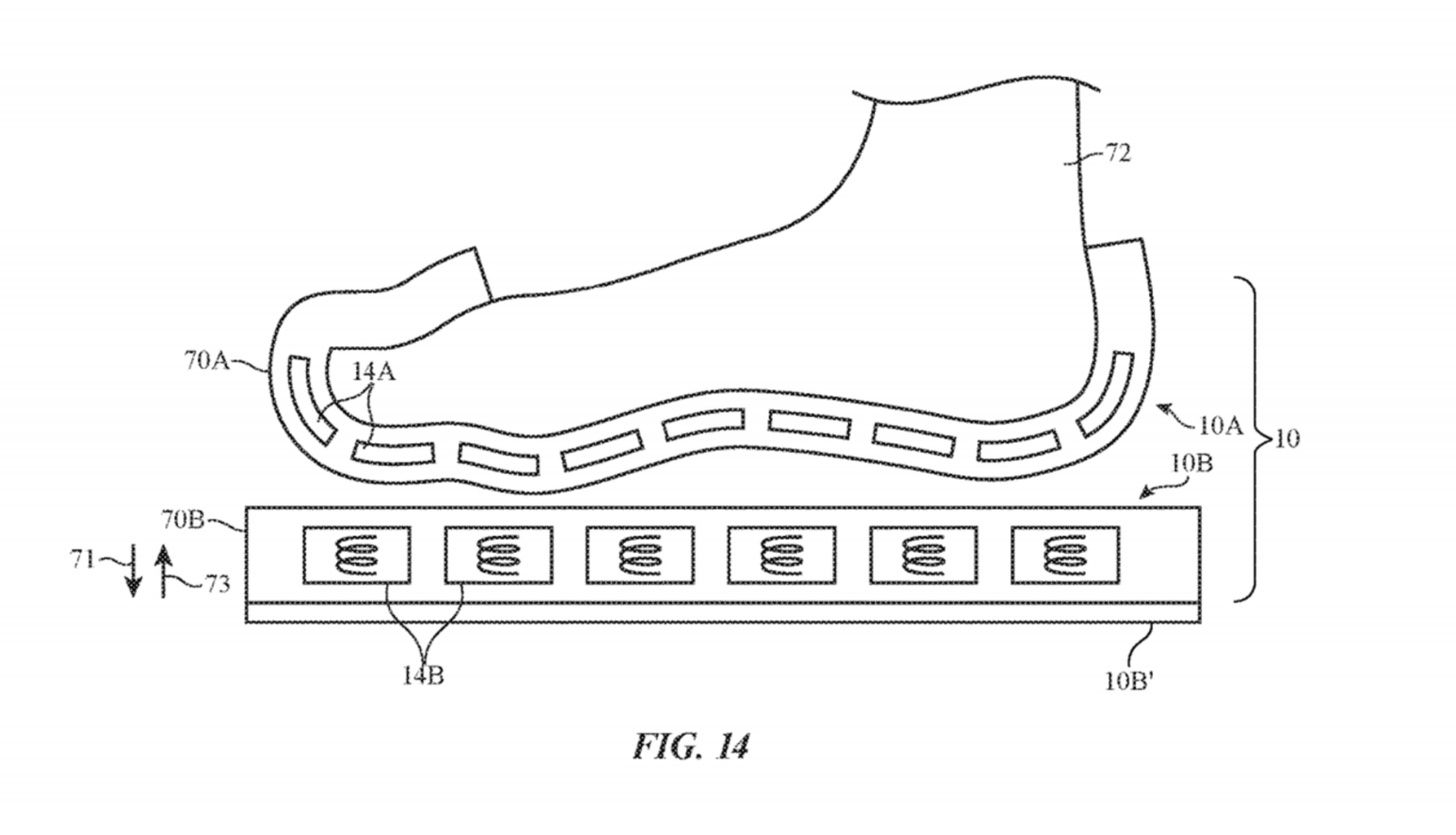
Một bằng sáng chế thú vị khác của Apple mô tả phụ kiện bao bọc gót, lòng bàn chân và đầu ngón chân, dùng để mô phỏng cảm giác đi lại trong môi trường thực tế ảo (VR) dù người dùng chỉ đứng yên. Bằng sáng chế được nộp vào năm 2021, cùng thời điểm tin đồn về kính VR của Apple xuất hiện ngày càng nhiều.

Lý do Apple vẫn giữ nút tắt âm lượng trên iPhone Không cần thao tác trên màn hình, bạn vẫn có thể bật chế độ im lặng trên iPhone chỉ bằng cách gạt nút điều chỉnh âm thanh ở cạnh bên điện thoại.

iPhone 13 là smartphone bán chạy nhất thế giới

Trong số 5 smartphone bán chạy nhất thế giới quý I, 3 thiết bị của Apple đều thuộc dòng iPhone 13.

Apple sẵn sàng cho thiết bị quan trọng nhất

Mẫu kính thực tế hỗn hợp của Apple đang trong giai đoạn hoàn thiện, dự kiến ra mắt vào cuối năm nay hoặc đầu 2023.

Apple hé lộ những tính năng đầu tiên của iOS 16

Loạt tính năng phục vụ người khuyết tật được Apple giới thiệu vào ngày 18/5, dự kiến ra mắt trong các bản cập nhật phần mềm cuối năm nay.

Phúc Thịnh

Ảnh: USPTO

Bạn có thể quan tâm