Để kỷ niệm 10 năm ra đời của chiếc iPhone, Apple có thể tạo ra một cuộc cách mạng trên mẫu điện thoại này, theo Mashable.
Chúng ta hẳn đã nghe nhiều thông tin về màn hình OLED, công nghệ sạc không dây, một chiếc iPhone hoàn toàn bằng kính, hay nút home cảm ứng.
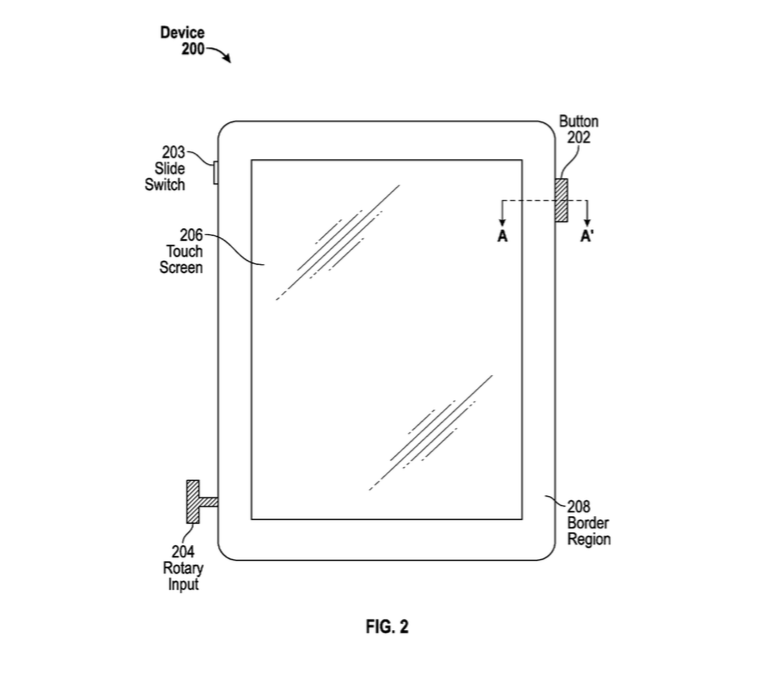
Tất cả vẫn chỉ là lời đồn. Nhưng một thông tin thú vị gần đây cho biết: Apple có thể mang nút vặn Digital Crown trên Apple Watch vào iPhone và iPad.
![]() |
| Hình ảnh trong bằng sáng chế của Apple. Ảnh: Mashable. |
Cục Thương hiệu và Bản quyền sáng chế Hoa Kỳ vừa công bố một bằng sáng chế mà Apple đăng ký năm 2014. Theo đó, nút vặn Digital Crown xuất hiện trên các thiết bị trông giống iPhone và iPad của Táo khuyết.
Không có thông tin xác nhận rằng Apple sẽ mang nó lên iPhone và iPad khi nào. Hình ảnh trông thấy cũng rất cơ bản và không được miêu tả chi tiết.
Tuy nhiên, có thể tưởng tượng ra chiếc iPhone mới sẽ trông như thế nào với nút vặn này. Một mô hình 3D được dựng với ý tưởng tương tự đã từng xuất hiện và gây xôn xao vào năm ngoái.
![]() |
| iPhone có thể sẽ được tích hợp Digital Crown như Apple Watch. Ảnh: 9to5mac. |
Điều này dường như đi ngược lại với xu hướng loại bỏ các nút vật lý trên sản phẩm của Apple.
Tuy nhiên, thiết kế này sẽ giúp cho trải nghiệm điều chỉnh âm lượng và kích thước cỡ chữ mà không bị tay che màn hình, và khi nhấn nút thì nó sẽ mở màn hình hoặc chụp ảnh.
Theo Mashable, nếu sắp xếp hợp lý Digital Crown và cảm biến vân tay ID Touch, chiếc iPhone với thiết này hoàn toàn có thể trở thành cơn sốt.

