Bộ đôi iPhone mới nhất được cho là có khả năng chống nước nhất định, dù Apple chưa xác nhận và cũng không quá hào hứng với tính năng này. Tuy vậy, một bằng sáng chế của họ cho thấy Apple đang nghĩ đến một phương thức khác để hạn chế tác hại của nước đến iPhone, theo TechInsider.
Tháng 5/2014, Apple Insider đưa tin gã khổng lồ đã mua một bằng sáng chế mang tên “Liquid expulsion from an orifice” (tạm dịch: Thoát nước qua cổng), một kỹ thuật cho phép loại bỏ những giọt nước thâm nhập vào thiết bị thông qua các cổng.
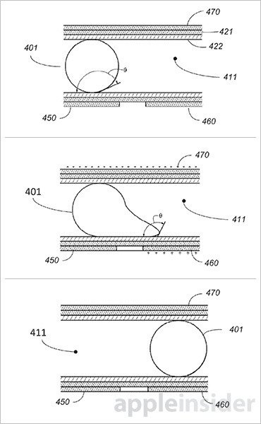
Một bản vẽ chi tiết mô tả trường hợp nước thâm nhập thông qua cổng tai nghe. Dùng âm thanh và cảm biến đặc biệt, công nghệ này cho phép kiểm tra độ ẩm bên trong thiết bị, sau đó truyền các dòng điện khác nhau đến chất liệu dẫn điện sắp dọc theo các cạnh cổng. Bằng cách tách đi một điện tích, công nghệ có thể hút và sau đó đẩy các hạt nước theo chiều cố định, lặp lại chu trình này, lượng nước sẽ được điều khiển và thoát khỏi thiết bị.
![]() |
Đối với các cổng nhất định, như tai nghe, chiếc iPhone có thể dùng các xung năng lượng dưới dạng sóng âm để đẩy nước ra ngoài.
Tuy nhiên, đây không phải lần đầu tiên Apple sở hữu bằng sáng chế liên quan đến công nghệ chống nước cho iPhone. Vào tháng 3, họ cũng nhận một bằng sáng chế sử dụng lớp bảo vệ hydrophobic có khả năng chống nước cho linh kiện bên trong iPhone, nhiều khả năng đây là công nghệ đứng sau khả năng của iPhone 6S trong các thí nghiệm ngâm nước trước đây.
Do đó, có thể không lạ nếu Apple áp dụng bằng sáng chế vào sản phẩm của họ. Nhiều tin đồn cho rằng, iPhone 7 có thể chống nước, ít nhất điều này cũng cho thấy Apple đang nghĩ cách áp dụng công nghệ này vào các thiết bị tương lai.
