Bạn có thể chuyển sang phiên bản mobile rút gọn của Tri thức trực tuyến nếu mạng chậm. Đóng

Apple sẽ sớm ra mắt iPhone màn hình gập?

Chiếc điện thoại này của Apple có lẽ sẽ không bị nếp nhăn ở giữa như những smartphone màn gập đời đầu.

Xu hướng mới nhất của smartphone hiện tại là một màn hình có thể gập lại. Nhiều mẫu smartphone gập đã được giới thiệu năm 2019 như Samsung Galaxy Fold, Huawei Mate X, cùng nhiều thiết bị đang phát triển của Xiaomi, Oppo, Huawei...

Apple có lẽ không muốn đứng ngoài cuộc chơi và cũng đang chuẩn bị cho chiếc smartphone gập của riêng mình. Trong một hồ sơ có tiêu đề "Thiết bị điện tử có màn hình và bản lề linh hoạt", do Văn phòng Bằng sáng chế và Thương hiệu Mỹ công bố, Apple mô tả thiết kế của một smartphone có màn hình gập lại được.

iphone man hinh gap anh 1

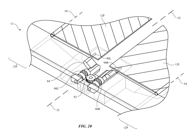
Thiết kế bản lề phức tạp của thiết bị màn hình gập Apple. Ảnh: Cnet.

Theo bản hồ sơ, Apple uốn cong màn hình theo cách khiến phần giữa hơi cong ra ngoài một chút trước khi gập màn hình lại. Điều này cho phép các phần chính và các cạnh của màn hình tương tác với nhau một cách linh hoạt mà không chịu ảnh hưởng của khu vực cong, đồng thời cho phép phần uốn cong có thể hoạt động ở bán kính mở rộng, giảm thiểu sức ép của các bộ phận.

Điểm quan trọng trong thiết kế này là bản lề, với cơ chế xoay cho phép màn hình chuyển động linh hoạt khi gập, đồng thời tạo không gian đủ để màn hình không va chạm với các bộ phận khác khi gập lại. Thêm vào đó, một giá đỡ và hệ thống bánh răng có thể được sử dụng để duy trì khoảng cách của vỏ và màn hình.

Đây là một thiết kế rất phức tạp, nhưng chưa chắc đã là thiết kế được ứng dụng trên iPhone màn hình gập. Hàng tuần, Apple nộp rất nhiều đơn để xin cấp bằng sáng chế, thực tế không phải ý tưởng nào của hãng cũng được hiện thực hóa. Dù vậy, những bằng sáng chế cũng đem lại hi vọng về kiểu dáng hoàn toàn mới của iPhone.

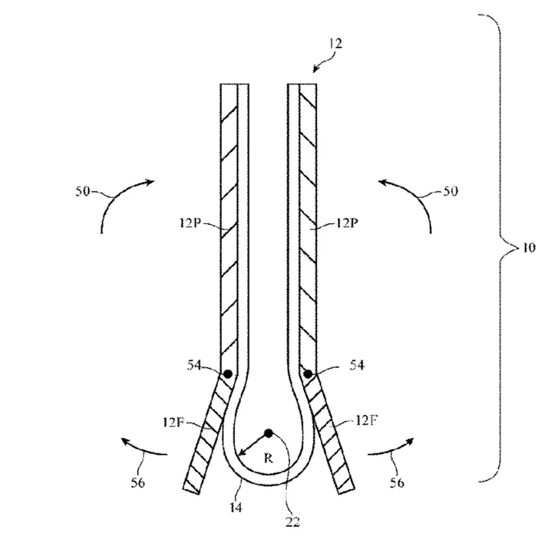
iphone man hinh gap anh 2

Một thiết kế bản lề khác mà Apple đã đăng ký. Ảnh: Apple Insider.

Nếu theo dõi các hồ sơ mà Apple đăng ký, có thể thấy họ đã quan tâm đến thiết kế gập từ lâu. Năm 2018, Apple đã được trao bằng sáng chế cho một dự án có tên tương tự: "Thiết bị điện tử có màn hình linh hoạt". Sản phẩm của Apple có kiểu gập vào bên trong tương tự Galaxy Fold nhưng phần lưng có thể uốn cong như màn hình ở mặt trước, thay vì phải dùng bản lề tách rời. Lớp kính bảo vệ được làm từ thủy tinh, sapphire hoặc zirconia.

Họ cũng đã nghiên cứu một thiết bị lớn hơn với màn hình uốn cong theo kiểu zigzag, màn hình bao phía ngoài, hay một chiếc điện thoại gập có thể “ghim” vào quần áo.

iPhone 9 sẽ là mẫu điện thoại được mong đợi nhất năm 2020 Hình ảnh rò rỉ cho thấy iPhone 9 có viền màn hình dày giống iPhone 8, với màn hình LCD 4,7 inch, bộ xử lý A13 Bionic cùng loại chip với iPhone 11.

'Vết nhơ' làm chậm iPhone vẫn đeo bám Apple

Cơ quan giám sát tiêu dùng Pháp vừa tuyên bố phạt Apple 25 triệu euro do bê bối cố tình làm chậm iPhone cách đây 2 năm.

Hoàng Giáp

Bạn có thể quan tâm