Bạn có thể chuyển sang phiên bản mobile rút gọn của Tri thức trực tuyến nếu mạng chậm. Đóng

Đã đến lúc người dùng nghĩ về iPhone màn hình gập

Apple được đồn đoán đang nghiên cứu công nghệ pin mới cho iPhone màn hình gập trong tương lai.

Theo Apple Insider, Táo khuyết đang tìm cách tối ưu không gian trống của iPhone. Một bằng sáng chế của Apple tiết lộ hãng đang nghiên cứu loại pin mới và được sử dụng cho iPhone màn hình gập.

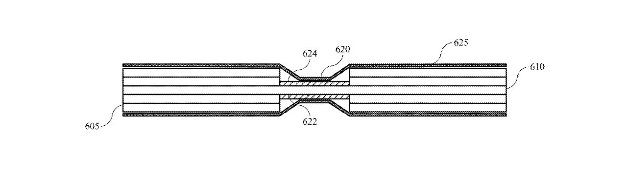
Bằng sáng chế mang tên “Flexible battery configurations”, với nội dung mô tả công nghệ pin có thiết kế gập nhờ cấu tạo đặc biệt. Khi iPhone gập lại, viên pin này sẽ thay đổi cấu tạo theo phần bản lề.

Apple dang nghien cuu cong nghe pin moi cho iPhone man hinh gap anh 1

Apple đang nghiên cứu công nghệ pin mới cho iPhone màn hình gập. Ảnh: AppleInsider.

“Flexible battery configurations” được nghiên cứu bởi 2 nhà phát minh Yuriy Y. Londarenko và Shabab Amiruddin. Trước đó, cả 2 từng nghiên cứu chung và nhận bằng sáng chế về việc tích hợp tản nhiệt vào pin.

“Công nghệ này có thể mang lại nhiều lợi ích hơn so với loại pin thông thường, chẳng hạn như cung cấp dung lượng cho các thiết bị kết nối với chúng. Tất nhiên, các thiết bị sở hữu loại pin này sẽ có thiết kế linh hoạt”, Apple cho biết. Hãng mô tả công nghệ pin mới như một phần quan trọng trong việc tạo ra iPhone màn hình gập.

Apple dang nghien cuu cong nghe pin moi cho iPhone man hinh gap anh 2

Viên pin này mang tính linh hoạt và có thể gập theo thiết bị. Ảnh: Apple Insider.

Ông William Gallagher, nhà báo Apple Insider cho rằng các thiết bị của Apple đều phụ thuộc vào viên pin nằm bên trong. Do đó, hãng luôn tìm cách để những viên pin này mạnh và bền hơn.

Năm 2020, Apple đã được cấp bằng sáng chế về loại pin đặc biệt. Trang IndiaTV News cho biết loại pin này có thể uốn dẻo và bẻ cong theo hình trụ. “Thông thường, những loại pin smartphone đều nguyên khối và chiếm nhiều không gian bên trong. Do đó, hãng đã nghiên cứu công nghệ pin có thiết kế linh hoạt cho smartphone”, ông Ians, phóng viên của IndiaTV News cho hay.

Apple dang nghien cuu cong nghe pin moi cho iPhone man hinh gap anh 3

Apple luôn tìm cách tối ưu vùng không gian bên trong của iPhone. Ảnh: GameRevolution.

Nhìn chung, cả 2 bằng sáng chế năm 2020 và năm 2021 đều chưa đề cập sâu về tính chất hóa học bên trong. Thay vào đó, Apple tập trung vào cơ chế hoạt động vật lý bên ngoài. Điều này đồng nghĩa cả 2 bằng sáng chế đều chưa phải giải pháp cuối cùng của Táo khuyết. Tuy nhiên, các sản phẩm trên đã cho thấy sự cố gắng của Apple trong việc phát triển iPhone và một số sản phẩm khác như: Apple Watch, iPad, Macbook.

Tháng trước, trang GameRevolution đưa tin rằng Apple sẽ ra mắt chiếc iPhone màn hình gập đầu tiên. Tuy nhiên, thiết bị này có thể được ra mắt vào 2 hoặc 3 năm sau.

Lý do không nên để điện thoại bị ướt vào thùng gạo Việc đặt iPhone bị ướt vào thùng gạo không phải là giải pháp tốt nhất. Điều này có thể khiến chúng bị hư hỏng thay vì được hút ẩm.

Cơ hội cuối cùng của iPhone màn hình nhỏ

Những người yêu thích điện thoại nhỏ gọn rất hào hứng với iPhone 12 mini, nhưng thời lượng pin làm họ e ngại. Liệu thế hệ kế tiếp có thay đổi tình thế?

Lý do người dùng ngại mua iPhone mới

iPhone cũ vẫn chiếm được lòng tin của một bộ phận người dùng. Chúng giữ lại một số chi tiết quan trọng và đáp ứng đủ tốt cho nhu cầu hàng ngày.

Thêm nhiều tin đồn về iPhone 14

Vài ngày trước thời điểm iPhone 13 ra mắt, dường như "bộ máy tin đồn" đã chuyển trọng tâm sang phiên bản tiếp theo.

Trường An

Theo Apple Insider

Bạn có thể quan tâm