Theo Apple Insider, hãng công nghệ đến từ Mỹ vừa đăng kí một bằng sáng chế mới liên quan đến màn hình OLED với viền siêu mỏng và những lỗ hổng bên trong. Từ đó, nhiều tin đồn cho rằng Apple sẽ sử dụng chi tiết này trên iPhone thế hệ tiếp theo.
Theo dự đoán, khoảng trống trên màn hình OLED có thể để giúp truyền tải thông tin cho cảm biến ánh sáng, vị trí đặt máy ảnh hoặc là nơi để đặt màn hình phụ. Thậm chí, họ còn có thể tạo thành một “cửa sổ” xuyên suốt, giúp người đối diện xem được những tương tác trên màn hình điện thoại của họ.
Bằng sáng chế không phải là dấu hiệu rõ ràng để khẳng định rằng Apple đang phát triển sản phẩm đặc biệt nào đó. Thay vào đó, những chi tiết này thường chỉ là những căn cứ để dự đoán về tính năng mới trên các thiết bị tiếp theo của hãng.
Màn hình trong màn hình
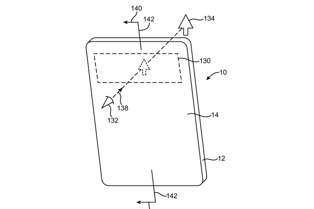
Khi xem bản vẽ, có thể thấy lỗ trên màn hình OLED xuyên suốt qua 2 mặt trước và sau. Điều đó khiến cho giả thiết về một màn hình phụ được tin tưởng nhất. Màn hình có thể cung cấp các tác vụ đang thực hiện cho người đối diện.
![]() |
| Bản vẽ kỹ thuật của bằng sáng chế mới của Apple. Ảnh: The Verge. |
Tuy nhiên, cũng có khả năng đây là vị trí đặt một số chi tiết như camera, cảm biến hay vân tay. Khi làm màn hình OLED siêu mỏng, sẽ rất khó để có vị trí để đặt các chi tiết trên.
Bằng sáng chế này cho thấy Apple đang rất muốn loại bỏ viền bezel ra khỏi chiếc điện thoại của mình.
